Použití:
Stožáry se používají na podpěru tramvajového a trolejbusového trolejového vedení.
Popis:
Stožáry jsou vyrobeny z plechů tvarovaných za studena. Mají osmihranný průřez. Vrchol stožáru je uzavřený.
V základním provedení nemají stožáry otvory pro přívod kabelů do dutiny stožáru. Tyto otvory je ale možné vyrobit na přání zákazníka. Hloubka vetknutí stožáru do povrchu je 150 cm.
Na přání:
NT Otvor pro vyvedení kabelů pro napájení trolejí
M Manžeta pro zvýšení odolnosti stožáru vůči vnějším vlivům
| Typ | D (mm) | D1 (mm) | H (m) | Lc (mm) | T (kN) |
| M - JTS 6,5 - 9 | 170 | 330 | 5 | 6,5 | 8 |
| M - JTS 6,5 - 12 | 170 | 340 | 6 | 6,5 | 8 |
| M - JTS 6,5 - 20 | 160 | 400 | 8 | 6,5 | 8 |
| M - JTS 6,5 - 32 | 190 | 420 | 12 | 6,5 | 8 |
| M - JTS 8,5 - 5 | 170 | 330 | 5 | 8,5 | 10 |
| M - JTS 8,5 - 8 | 170 | 370 | 6 | 8,5 | 10 |
| M - JTS 8,5 - 12 | 180 | 380 | 8 | 8,5 | 10 |
| M - JTS 8,5 - 18 | 200 | 420 | 8 | 8,5 | 10 |
| M - JTS 8,5 - 22 | 200 | 420 | 10 | 8,5 | 10 |
| M - JTS 10,5 - 6,3 | 190 | 370 | 8 | 10,5 | 12 |
| M - JTS 10,5 - 8 | 190 | 400 | 8 | 10,5 | 12 |
| M - JTS 10,5 - 12 | 200 | 420 | 10 | 10,5 | 12 |
| M - JTS 10,5 - 20 | 240 | 415 | 12 | 10,5 | 12 |
Použití:
Stožáry se používají na podpěru tramvajového a trolejbusového trolejového vedení.
Popis:
Stožáry jsou vyrobeny z plechů tvarovaných za studena. Mají osmihranný průřez. Vrchol stožáru je uzavřený.
V základním provedení nemají stožáry otvory pro přívod kabelů do dutiny stožáru. Tyto otvory je ale možné vyrobit na přání zákazníka.
Pro zvýšení odolnosti stožáru vůči vnějším vlivům je možné opatřit ho manžetou 300 mm nad přírubou.
Varianta JTS P znamená, že stožár je připevněn k podkladu pomocí příruby.
Na přání:
T Otvor pro vyvedení kabelů pro napájení trolejí
M Manžeta pro zvýšení odolnosti stožáru vůči vnějším vlivům
| Typ | D (mm) | D1 (mm) | H (m) | A (mm) | T (kN) |
| M - JTS 6,5 - 9P | 170 | 330 | 6,5 | 520 | 9 |
| M - JTS 6,5 - 12P | 170 | 340 | 6,5 | 540 | 12 |
| M - JTS 6,5 - 20P | 160 | 400 | 6,5 | 580 | 20 |
| M - JTS 6,5 - 32P | 190 | 420 | 6,5 | 620 | 32 |
| M - JTS 8,5 - 5P | 170 | 330 | 8,5 | 500 | 5 |
| M - JTS 8,5 - 8P | 170 | 370 | 8,5 | 520 | 8 |
| M - JTS 8,5 - 12P | 180 | 380 | 8,5 | 540 | 12 |
| M - JTS 8,5 - 18P | 200 | 420 | 8,5 | 580 | 18 |
| M - JTS 8,5 - 22P | 200 | 420 | 8,5 | 620 | 22 |
| M - JTS 10,5 - 6,3P | 190 | 370 | 10,5 | 520 | 6,3 |
| M - JTS 10,5 - 8P | 190 | 400 | 10,5 | 520 | 8 |
| M - JTS 10,5 - 12P | 200 | 420 | 10,5 | 580 | 12 |
| M - JTS 10,5 - 20P | 240 | 415 | 10,5 | 620 | 20 |
Použití:
Stožáry se používají na podpěru tramvajového a trolejbusového trolejového vedení, současně i pro osvětlovací účely.
Popis:
Stožáry jsou vyrobeny z plechů tvarovaných za studena. Mají osmihranný průřez. Vrchol stožáru je uzavřený.
Stožáry jsou opatřené otvory pro přívod kabelů do dutiny stožáru. Mohou být vybaveny i otvorem pro vyvedení kabelů pro napájení trolejí.
Hloubka vetknutí stožáru do povrchu je 150 cm.
Otvor umístěný nad úrovní zakotvení je uzavřený dvířky, ve kterých se upevní stožárová rozvodnice. Ke stožárům dodáváme i výložníky pro instalaci svítidel.
Na přání:
NT Otvor pro vyvedení kabelů pro napájení trolejí
VO Úprava pro veřejné osvětlení.
M Manžeta pro zvýšení odolnosti stožáru vůči vnějším vlivům
| Typ | D (mm) | D1 (mm) | H (m) | Lc (mm) | T (kN) |
| M - JTSK 6,5 - 9 | 170 | 330 | 6,5 | 8 | 9 |
| M - JTSK 6,5 - 12 | 170 | 340 | 6,5 | 8 | 12 |
| M - JTSK 6,5 - 20 | 160 | 400 | 6,5 | 8 | 20 |
| M - JTSK 6,5 - 32 | 190 | 420 | 6,5 | 8 | 32 |
| M - JTSK 8,5 - 5 | 170 | 330 | 8,5 | 10 | 5 |
| M - JTSK 8,5 - 8 | 170 | 370 | 8,5 | 10 | 8 |
| M - JTSK 8,5 - 12 | 180 | 380 | 8,5 | 10 | 12 |
| M - JTSK 8,5 - 18 | 200 | 420 | 8,5 | 10 | 18 |
| M - JTSK 8,5 - 22 | 200 | 420 | 8,5 | 10 | 22 |
| M - JTSK 10,5 - 6,3 | 190 | 370 | 10,5 | 12 | 6,3 |
| M - JTSK 10,5 - 8 | 190 | 400 | 10,5 | 12 | 8 |
| M - JTSK 10,5 - 12 | 200 | 420 | 10,5 | 12 | 12 |
| M - JTSK 10,5 - 20 | 240 | 415 | 10,5 | 12 | 20 |
Použití:
Stožáry se používají na podpěru tramvajového a trolejbusového trolejového vedení, současně i pro osvětlovací účely.
Popis:
Stožáry jsou vyrobeny z plechů tvarovaných za studena. Mají osmihranný průřez. Vrchol stožáru je uzavřený.
Stožáry jsou opatřené otvory pro přívod kabelů do dutiny stožáru. Mohou být vybaveny i otvorem pro vyvedení kabelů pro napájení trolejí.
Pro zvýšení odolnosti stožáru vůči vnějším vlivům je možné opatřit ho manžetou 300 mm nad přírubou.
Varianta JTS P znamená, že stožár je připevněn k podkladu pomocí příruby.
Otvor umístěný nad úrovní zakotvení je uzavřený dvířky, ve kterých se upevní stožárová rozvodnice. Ke stožárům dodáváme i výložníky pro instalaci svítidel.
Na přání:
NT Otvor pro vyvedení kabelů pro napájení trolejí
VO Úprava pro veřejné osvětlení.
M Manžeta pro zvýšení odolnosti stožáru vůči vnějším vlivům
| Typ | D (mm) | D1 (mm) | H (m) | Lc (mm) | T (kN) |
| M - JTSK 6,5 - 9P | 170 | 330 | 6,5 | 520 | 9 |
| M - JTSK 6,5 - 12P | 170 | 340 | 6,5 | 540 | 12 |
| M - JTSK 6,5 - 20P | 160 | 400 | 6,5 | 580 | 20 |
| M - JTSK 6,5 - 32P | 190 | 420 | 6,5 | 620 | 32 |
| M - JTSK 8,5 - 5P | 170 | 330 | 8,5 | 500 | 5 |
| M - JTSK 8,5 - 8P | 170 | 370 | 8,5 | 520 | 8 |
| M - JTSK 8,5 - 12P | 180 | 380 | 8,5 | 540 | 12 |
| M - JTSK 8,5 - 18P | 200 | 420 | 8,5 | 580 | 18 |
| M - JTSK 8,5 - 22P | 200 | 420 | 8,5 | 620 | 22 |
| M - JTSK 10,5 - 6,3P | 190 | 370 | 10,5 | 520 | 6,3 |
| M - JTSK 10,5 - 8P | 190 | 400 | 10,5 | 520 | 8 |
| M - JTSK 10,5 - 12P | 200 | 420 | 10,5 | 580 | 12 |
| M - JTSK 10,5 - 20P | 240 | 415 | 10,5 | 620 | 20 |
Použití:
Stožáry jsou určeny pro zavěšení trolejového vedení. Na přání je možná úprava horní části pro montáž výložníku veřejného osvětlení.
Popis:
Třístupňový stožár vyrobený z ocelových trubek. Standardně je stožár opatřen ochrannou manžetou a je zaslepen na obou koncích. Stožár také může být opatřen dvířky.
Na stožár mohou být použity všechny vhodné druhy povrchových úprav.
Standardně je stožár vetknut 1,5 m do povrchu.
| Typ | Celková délka (m) | Dílčí délky (m) | Nadzemní výška (m) | ||
| L1 | L2 | L3 | |||
| B9 | 9 | 4,4 | 2,25 | 2,35 | 7,4 |
| B10 | 10 | 4,8 | 2,55 | 2,65 | 8,4 |

Použití:
Stožáry jsou určeny pro zavěšení trolejového vedení. Na přání je možná úprava horní části pro montáž výložníku veřejného osvětlení.
Popis:
Třístupňový stožár vyrobený z ocelových trubek. Standardně je stožár opatřen ochrannou manžetou a je zaslepen na obou koncích. Stožár také může být opatřen dvířky.
Na stožár mohou být použity všechny vhodné druhy povrchových úprav.
Standardně je stožár vetknut 1,5 m do povrchu.
| Typ | Celková délka (m) | Dílčí délky (m) | Nadzemní výška (m) | ||
| L1 | L2 | L3 | |||
| C9 | 9 | 4,4 | 2,25 | 2,35 | 7,4 |
| C10 | 10 | 4,8 | 2,55 | 2,65 | 8,4 |

Použití:
Stožáry jsou určeny pro zavěšení trolejového vedení. Na přání je možná úprava horní části pro montáž výložníku veřejného osvětlení.
Popis:
Dvoustupňový stožár vyrobený z ocelových trubek. Standardně je stožár opatřen ochrannou manžetou a je zaslepen na obou koncích. Stožár také může být opatřen dvířky.
Na stožár mohou být použity všechny vhodné druhy povrchových úprav.
Standardně je stožár vetknut 1,5 m do povrchu.
| Typ | Celková délka (m) | Dílčí délky (m) | Nadzemní výška (m) | |
| L1 | L2 | |||
| D9 | 9 | 5,5 | 3,5 | 7,4 |
| D10 | 10 | 5,5 | 4,5 | 8,4 |
| D11 | 11 | 6,5 | 4,5 | 9,4 |
| C12 | 12 | 6,5 | 5,5 | 10,4 |

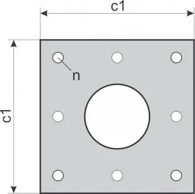
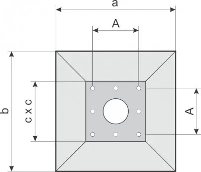
Základový rošt je určený pro trakční stožáry. Rošt se usazuje do betonového základu. Parametry betonového základu musí navrhnout projektant především s ohledem na únosnost půdy v dané lokalitě.
| Typ | d (mm) | c (mm) | c1 (mm) | h1 (mm) | L (mm) | A (mm) | n | kg |
| ZRT-30-400 | 30 | 500 | 500 | 70 | 800 | 400 | 4 | 48 |
| ZRT-30-420-8 | 30 | 550 | 550 | 70 | 800 | 420 | 8 | 65 |
| ZRT-36-400 | 36 | 520 | 520 | 75 | 1000 | 400 | 4 | 65 |
| ZRT-36-420-8 | 36 | 550 | 550 | 75 | 1000 | 420 | 8 | 96 |
| ZRT-36-500-8 | 36 | 600 | 600 | 75 | 1000 | 500 | 8 | 110 |
| ZRT-42-400 | 42 | 540 | 540 | 80 | 1000 | 400 | 4 | 85 |
| ZRT-48-400 | 48 | 580 | 580 | 90 | 1200 | 400 | 4 | 110 |

Použití:
Mobilní základy se používají pro dočasné přeložení trakce (na stavbách, při rekonstrukcích), případně v místech, kde není možné vetknout stožár pod úroveň terénu (tunely, metro, inženýrské sítě).
Popis:
Mobilní základ - ocelová konstrukce vyplněná betonem. Standardně se skládá ze dvou spojených základových bloků, které jsou přizpůsobené k namontování přírubového stožáru.
Každý blok je v případě potřeby použitelný i samostatně.
Parametry:
(v závislosti na výšce zavěšení trakce)
